Rykten om vikbar iPhone: senaste läckorna, lanseringsdatum och vad du kan förvänta dig av Apples vikbara mobil
Apples vikbara iPhone: nyheter, utvecklingsuppdateringar och förväntade funktioner

Det senaste Apple-eventet passerade utan något omnämnande av en vikbar iPhone, och med få rykten i omlopp är det oklart om en sådan enhet ens är under utveckling eller om den helt enkelt har lagts på is för tillfället.
Just nu leds marknaden för de bästa vikbara mobilerna av modeller som Samsung Galaxy Z Fold 6, Galaxy Z Flip 6 och OnePlus Open. Detta lämnar utrymme för en vikbar telefon med Apple iOS att göra avtryck, men när – eller om – det kommer att ske är fortfarande okänt.
Den mest troliga tidsramen för en vikbar iPhone är tidigast 2025, eftersom Apple kan vänta tills tekniken för vikbara telefoner är tillräckligt utvecklad för att möta företagets krav. Under tiden kan du fortsätta läsa för de senaste uppdateringarna och allt du behöver veta om den potentiella vikbara iPhonen.
Senaste nytt
Nu har vi en tydligare bild av skärmstorlekarna för den vikbara iPhonen.
Gå rakt på sak
Lanseringsdatum och pris för vikbar iPhone
Det spekuleras allt mer—baserat på flera rapporter—att den vikbara iPhonen kan släppas redan 2025. Vissa branschkällor menar dock att lanseringen kan dröja betydligt längre. Exempelvis visade en rapport från oktober 2018 att en vikbar iPad kunde lanseras i slutet av 2024 eller början av 2025, medan den vikbara iPhonen skulle komma senare.
En annan rapport från februari 2024 pekade på en möjlig lansering i september 2026, eventuellt tillsammans med iPhone 18. Det rapporterades också att en stor del av utvecklingsteamet nu fokuserar på detta projekt, med ambitiösa försäljningsmål om 50 miljoner enheter. Dessa uppgifter om 2026 har fått stöd av läckta produktplaner.
På senare tid har det även förekommit uppgifter om att den vikbara iPhonen kan försenas från slutet av 2026 till början av 2027, och vissa analytiker tror att projektet kan ställas in helt, vilket innebär att den aldrig når marknaden.
Enligt en färsk branschanalys är det osannolikt att den vikbara iPhonen släpps före 2027, på grund av höga krav på skärmens hållbarhet och tillförlitlighet.
Trots tidigare planer på en lansering 2026 finns det rapporter som tyder på att utvecklingen accelererat, vilket ökar möjligheten till en lansering redan 2025.
De senaste läckorna pekar dock åter mot ett släpp under 2026. Under slutet av 2024 och början av 2025 har flera källor nämnt en debut 2026, och en läcka i juni 2025 stärker denna tidslinje. I juli 2025 rapporterades att prototyptillverkningen startat, med målet att lansera under andra halvan av 2026. Som det ser ut nu är andra halvåret 2026 det mest troliga. Dessutom verkar företaget vara nära att välja skärmtillverkare för enheten.
När den än släpps är det osannolikt att den vikbara iPhonen blir en engångslansering. Flera rapporter tyder på att modellen kommer att få årliga uppdateringar, precis som andra flaggskeppsmodeller.
När det gäller priset finns det ännu inga officiella uppgifter. Eftersom många vikbara telefoner kostar betydligt mer än 10 000 kr, är det rimligt att förvänta sig ett premiumpris. Tidiga prisläckor pekar på cirka 27 000 kr (baserat på $2,500), så det kan vara klokt att börja spara om du är intresserad.
Senare läckor pekar på ett något lägre pris runt 21 500 kr (motsvarande $2,000), medan andra uppskattningar ligger på cirka 25 000 kr. De senaste rapporterna indikerar att den vikbara iPhonen kan kosta mellan 23 000 och 27 000 kr, även om vissa källor tror att priset kan bli så lågt som 19 500 kr eller så högt som 21 500 kr, beroende på slutgiltig design och funktioner.
Trots det sannolikt höga priset förutspår branschanalytiker stark försäljning, och vissa tror att den vikbara iPhonen kan sälja bättre än andra modeller som Plus- eller mini-serierna, och till och med den ryktade iPhone 17 Air.
Andra varnar dock för att det höga priset kan begränsa försäljningen till de mest entusiastiska köparna.
När det gäller namnet har rykten nämnt "iPhone Flip"—troligen inspirerat av klassiska "viktelefoner"—men det slutgiltiga namnet är inte bekräftat och kan ändras före lansering.

Läckor och rykten om vikbar iPhone
Ryktena om en vikbar iPhone kan generellt delas in i två kategorier: en variant tyder på att enheten kommer att ha en sömlös, vikbar skärm, medan den andra pekar på en design med två separata skärmar som är sammankopplade med ett gångjärn.
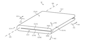
I februari 2019 dök flera konceptuella designer upp genom patentansökningar. Vissa visade en stor skärm som viks inåt med ett enda gångjärn, medan andra föreslog en enhet med två gångjärn, vilket möjliggör att tre separata skärmar kan vikas ihop till en kompakt, Z-formad konstruktion.
Ytterligare patent, som ett som lämnades in i mars 2020, indikerar att Apple kan utveckla en vikbar enhet med två distinkta skärmar som är förbundna med ett gångjärn. Även om designen syftar till att minska den synliga ramen (ramen) mellan skärmarna, skulle den troligen ändå vara mer märkbar än en kontinuerlig vikbar skärm.
Branschkällor har också rapporterat att en nuvarande prototyp har två separata skärmar som kopplas samman med ett gångjärn. Den här designen sägs ha rundade kanter, liknande tidigare iPhone-modeller, istället för de kantiga formerna som finns på nyare versioner.
Intressant nog saknar denna prototyp enligt uppgift det traditionella "hacket" för selfiekameror. Istället skulle sensorerna för ansiktsigenkänning placeras i ett litet område högst upp på den yttre skärmen.

Senaste läckorna tyder på att iPhone Flip kan få en klassisk "clamshell"-design, liknande andra populära vikbara mobiler, och den kan komma att erbjudas i en rad livfulla färger. Det innebär att du troligtvis kan förvänta dig djärva, uppseendeväckande färger när iPhone Flip lanseras.
Ett annat patent visar en alternativ lösning för en vikbar iPhone, möjligen kallad iPhone Fold. Den här modellen skulle öppnas som en bok och erbjuda en större skärm, vilket liknar bokformade vikbara mobiler. Tack vare den unika skärmlayouten kan användaren se aviseringar även när enheten är stängd.
Rykten gör gällande att den vikbara iPhonen kan stödja pekpenna och erbjuda en skärmstorlek mellan 7,3 och 7,9 tum. Andra källor nämner en skärm mellan 7 och 8 tum, vilket stärker bilden av en bokliknande vikbar enhet. Vissa rapporter antyder även en enda vikbar skärm på utsidan, likt enheter som fungerar både som mobil och surfplatta beroende på hur de viks.
Ytterligare läckor nämner en huvudskärm mellan 7,6 och 7,9 tum, samt en mindre framskärm mellan 5,3 och 5,5 tum. Skärmens bildförhållande kan vara bredare än på andra vikbara smartphones och den kan använda avancerad LTPO-teknik för en smidig uppdateringsfrekvens på 120 Hz.
Det finns även uppgifter om en betydligt större vikbar iPhone med över 12 tum stor skärm, tunn profil (4,6–4,8 mm när den är utfälld), ett batteri på 5 000 mAh och dubbla bakre kameror med ultravidvinkel.
Färskare rapporter pekar på skärmstorlekar på 7,74 tum för huvudskärmen och 5,49 tum för framskärmen. Dessa mått har nämnts av flera källor, vilket ger ryktena ökad trovärdighet.
Läckta specifikationer talar om en högupplöst vikbar skärm (1 920 x 2 713 pixlar) och en framskärm på 1 422 x 2 088 pixlar. Den vikbara skärmen kan få en kamera under skärmen och sakna Face ID för ansiktsigenkänning. Båda bakre kamerorna förväntas vara på 48 MP, och enheten kan använda ett gångjärn i slitstark amorf metallglas-komposit samt ett hölje i titanlegering.
Vissa källor lyfter även fram att skärmen är tunnare och lättare än på dagens vikbara mobiler, med högre ljusstyrka och förbättrad färgåtergivning. Vecket i skärmen ryktas vara nästan osynligt, vilket ger ett mer elegant intryck.
Det rapporteras också att Apple testar en färgskärm med elektroniskt papper (EPD) från E Ink för framskärmen. Denna teknik skulle möjliggöra en alltid aktiv funktion med minimal batteriförbrukning, likt e-boksläsare.
Den vikbara iPhonen kan få ett skyddande lager på skärmen som hjälper till att motverka sprickor och till och med kan laga mikrosprickor, vilket ökar hållbarheten. Patent beskriver ett tunt men starkt gångjärn, eventuellt tillverkat av flytande metall för extra styrka och livslängd, med fokus på hög kvalitet jämfört med andra vikmobiler.
Vissa rapporter anger att två vikbara iPhone-prototyper redan klarat hållbarhetstester, vilket tyder på att utvecklingen går framåt.
Ett annat patent beskriver användning av tryckkänsliga solid state-knappar längs enhetens kanter, så att användare kan navigera längs kanterna istället för endast via skärmen. Dessa trycksensorer skulle integreras i tunna, nästan osynliga metallinjer längs kanterna för en modern och stilren användarupplevelse.
Utöver den innovativa designen och skärmen ryktas den vikbara iPhonen få en dubbellinskamera, Touch ID och ett ultratunt batteri. Trots sin tunna profil rapporteras batteritiden vara imponerande och räcka hela dagen, eftersom batteriprestanda är högt prioriterad. Nya läckor pekar på en batterikapacitet mellan 5 000 och 5 500 mAh, vilket stödjer dessa påståenden.
Dessutom har en inofficiell prototyp av en vikbar iPhone, skapad av ett team i Kina, dykt upp på nätet och ger en fingervisning om hur enheten kan se ut. Även om denna prototyp innebar flera kompromisser, skulle Apples slutliga design – om den liknar populära vikbara smartphones på marknaden – kunna bli betydligt mer förfinad och välutvecklad.

iPhone Flip: 5 funktioner vi vill se

1. Kameror i toppklass
Vikbara enheter minskar avståndet mellan smartphones och surfplattor, och många av de senaste modellerna, såsom Samsung Galaxy Fold och Huawei Mate Xs, har högkvalitativa kameror som liknar dem som finns i tillverkarnas flaggskeppstelefoner.
Det är troligt att Apple skulle följa denna trend, men företaget har inte uppdaterat kamerorna på sina iPads på flera generationer. Dessutom, eftersom iPhone SE 2020 använde samma kamera som iPhone 8, kan Apple ta en liknande väg med en vikbar iPhone—möjligen med endast en kamera istället för de flera linser som finns på de senaste toppmodellerna av iPhone.

2. Apple Pencil-stöd
Apple har en möjlighet att ta sina vikbara enheter till nästa nivå genom att introducera stöd för Apple Pencil. Många vikbara telefoner erbjuder redan kompatibilitet med stylus, och eftersom Apple Pencil 2 fäster magnetiskt på de senaste iPad Pro-modellerna skulle det vara spännande att se hur Apple kan integrera sin stylusteknik med en vikbar iPhone. Den här funktionen skulle kunna förbättra produktivitet, kreativitet och användarupplevelse, och göra enheten ännu mer mångsidig.

3. Den klassiska Apple-känslan
Låt oss vara ärliga: även om de första vikbara mobilerna imponerade med sina innovativa vikskärmar, hade de också vissa designproblem – till exempel gångjärn som inte alltid höll och skärmar som lätt sprack. Vi ser fram emot en vikbar enhet som fungerar smidigt och klarar av vardagens påfrestningar.
Apple har förstås sina egna utmaningar – tänk på ömtåliga iPhone-skärmar, de problematiska butterfly-tangentborden och äldre iPhones som blev långsammare på grund av batteriproblem. Ändå får Apple ofta beröm för sina stilrena, användarvänliga designer som förenar form och funktion.

4. iPadOS-integration
När iPadOS separerades från iOS öppnades spännande nya möjligheter att utnyttja iPadens större skärm. Hittills har multitasking-funktionerna gjort det enkelt att använda flera appar sida vid sida – till exempel att skriva i Google Docs samtidigt som du surfar i Safari – vilket har varit otroligt användbart.
Vi ser fram emot att få liknande operativsystemfunktioner på en vikbar iPhone. Det finns förstås fortfarande många frågetecken. Kommer enhetens skärm att vara tillräckligt stor för att stödja iPadOS-kontroller? Om den viks ut till runt 7,9 tum, ungefär som en iPad Mini, kan det vara möjligt. Tills designen avslöjas är det svårt att säga hur väl iPadOS skulle passa, men möjligheten till förbättrad multitasking på en vikbar iPhone är definitivt lockande.
5. Stark batteritid
Vikbara telefoner har imponerat med sin batteritid för att vara första generationens enheter, men det finns fortfarande utrymme för förbättring i kommande modeller. Traditionellt sett är iPhones inte kända för att klara sig mer än en dag på en laddning, medan flaggskepp från andra tillverkare ofta har batterier med större kapacitet som räcker längre än en dag.
Vi hoppas att Apple utnyttjar det extra utrymme i en vikbar design för att leverera ännu bättre batteritid, så att deras vikbara telefon kan sticka ut från konkurrenterna och räcka hela dagen.
